احتمال سازگاری پلی استیشن 5 با بازی‌های PS3 در پتنت جدید سونی

دوشنبه 13 تیر 1401 - 23:33
مطالعه 2 دقیقه
کنسول پلی استیشن 3
سونی پتنت جدیدی را به ثبت رسانده که ممکن است امکان سازگاری با سخت افزارهای نسل PS3 شامل کنسول‌ دستی PSP Go را با پلی استیشن 5 فراهم کند.
تبلیغات

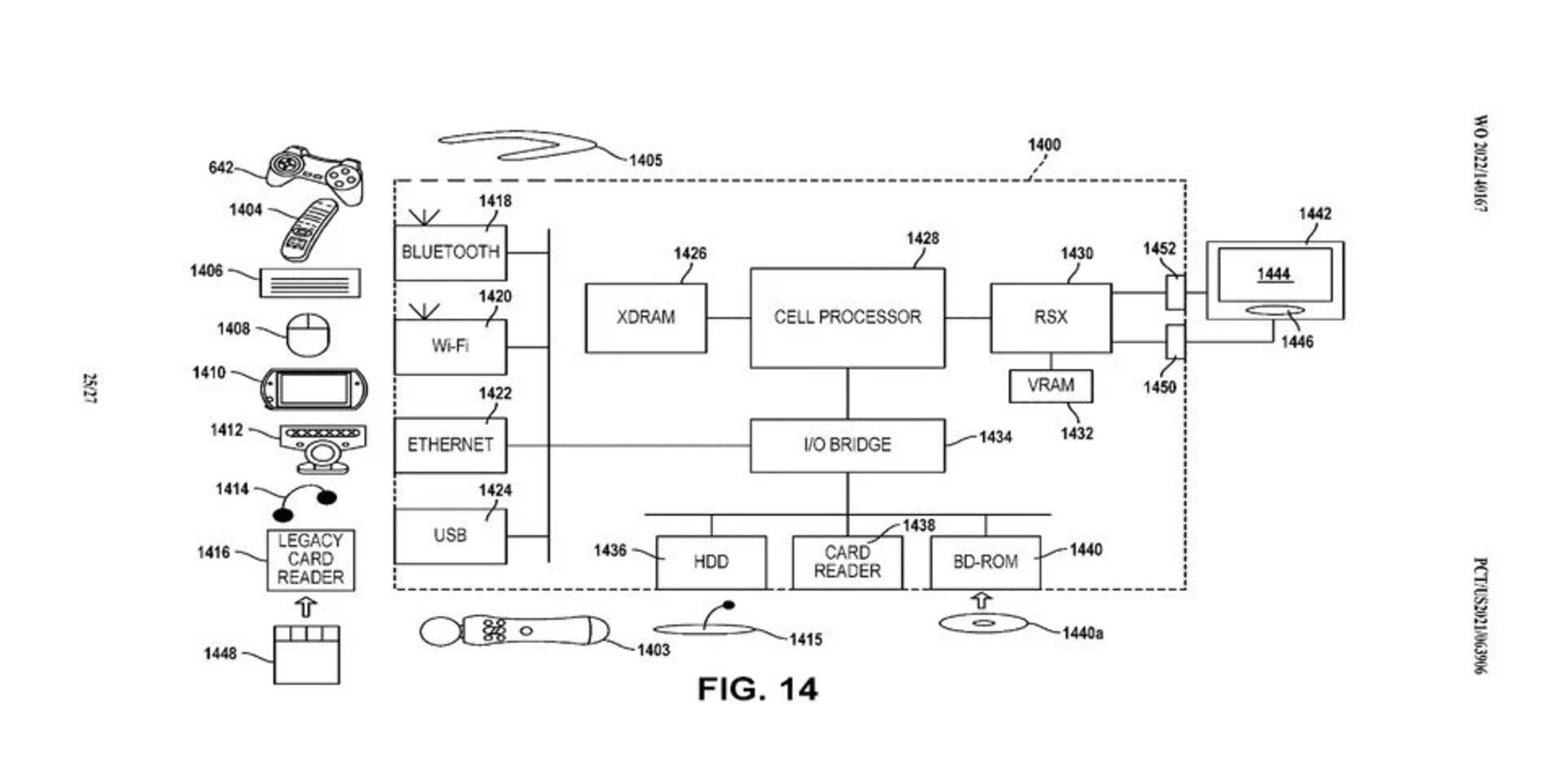
وبسایت Game Rant در گزارش جدید خود از پتنت جدیدی رونمایی کرده که به‌تازگی توسط سونی به ثبت رسیده است. در این طرح سخت افزارهای قدیمی سومی از قبیل ریموت کنترلرها، کنترلرهای دوال شاک و حتی کنسول‌های دستی که احتمالاً در این مورد PSP Go باشد، ازطریق شبیه سازها در پلی استیشن 5 نیز قابل استفاده می‌شوند.

در تصویری که پایین‌تر ملاحظه می‌کنید، یک کنترلر دوال شاک، یک ریموت کنترل Media سونی، یک EyeToy، یک دسته‌ی PlayStation Move، یک مموری کارت و چیزی را که در ظاهر یک موس برای پلی استیشن به نظر می‌رسد مشاهده می‌کنیم.

پتنت جدید سونی

بسیاری از این تجهیزات مدت‌ها است که توسط سونی کنار گذاشته شدند. درواقع مدرن‌ترین آن‌ها، دسته‌ی PlayStation Move است که هنوز در نسل اول هدست‌های واقعیت مجازی PlayStation VR قابل استفاده است.

اما چیزی که این پتنت را جالب‌تر می‌کند، این است که این تجهیزات به‌طور کلی به دوران کنسول پلی استیشن 3 تعلق دارند. بنابراین ممکن است این پتنت بخشی از تلاش سونی برای تهیه سیستم شبیه‌ساز بازی‌های PS3 روی پلی استیشن 5 باشد. چیزی که هم‌اکنون فقط ازطریق استریم بازی‌ها و به‌عنوان بخشی از سرویس پلی استیشن پلاس جدید امکان‌پذیر است.

سرویس پلی استیشن پلاس جدید سونی که هم‌اکنون در بسیاری از مناطق جهان در دسترس کاربران قرار گرفته، در سه پیشنهاد مختلف ارائه می‌شود که بالاترین سطح آن، امکان دسترسی به بازی‌های کلاسیک کنسول‌های قدیمی پلی استیشن را فراهم می‌کند. البته این بازی‌ها شامل کنسول‌های اورجینال پلی استیشن، پلی استیشن 2 و PSP می‌شوند، اما بازی‌های پلی استیشن 3 به‌دلیل تکنولوژی منحصربه‌فرد آن تنها ازطریق استریم آنلاین قابل استفاده هستند.

داغ‌ترین مطالب روز
تبلیغات

نظرات